హ్యార్లీ డేవిడ్సన్ నుంచి సెల్ఫ్ బ్యాలెన్సింగ్ బైక్స్..!?
అమెరిన్ మోటాల్సైకిల్ బ్రాండ్ హ్యార్లీ డేవిడ్సన్ నుంచి భవిష్యత్తులో మానవ ప్రమేయం లేకుండా దానంతట అదే బ్యాలెన్స్ చేసుకోగలిగేలా (సెల్ఫ్ బ్యాలెన్సింగ్) బైక్స్ రాబోతున్నాయా..? హ్యార్లీ డేవిడ్సన్ చేసిన పని చూస్తే నిజమే అనిపిస్తోంది. ఈ కంపెనీ ఇప్పటికే సెల్ఫ్ బ్యాలెన్సింగ్ మెకానిజంకు సంబంధించి ఓ పేటెంట్ను కూడా ఫైల్ చేసింది.

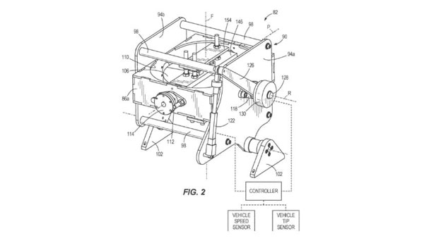
సెగ్వే వంటి చిన్న తరహా వాహనాలు ఇప్పటికే సెల్ఫ్ బ్యాలెన్సింగ్ టెక్నాలజీని ఉపయోగించుకుంటున్న నేపథ్యంలో, హ్యార్లీ డేవిడ్సన్ కూడా అదే తరహాలో వాహనాలను డిజైన్ చేయాలని యోచిస్తోంది. హ్యార్లీ డేవిడ్సన్ ఫైల్ చేసిన పేటెంట్ చిత్రాలను చూస్తుంటే, ఈ సెల్ఫ్ బ్యాలెన్సింగ్ మెకానిజంలో గింబాల్లో మౌంట్ చేసిన ఓ హై-స్పీడ్ ఫ్లైవీల్ రెండు యాక్సెస్ను తిప్పడంలో సహకరిస్తుంది.

ఒకవేళ ఈ సెల్ఫ్ బ్యాలెన్సింగ్ పూర్తిస్థాయిలో వినియోగంలోకి వస్తే ఇకపై వాహనాలకు స్టాండ్ వేయాల్సిన అవసరం ఉండదన్నమాట. మోటార్సైకిల్ వేగం తక్కువగా ఉన్నప్పుడు లేదా చలనంలో లేనప్పుడు ఈ సెల్ఫ్ బ్యాలెన్సింగ్ మెకానిజం పనిచేయటం మొదలు పెడుతుంది. ఈ టెక్నాలజీ వలన మోటార్సైకిల్ మరింత స్థిరత్వంతో ముందుకు సాగుతుంది.

కన్వెన్షనల్ మెకానికల్ గైరోస్కోప్తో పనిచేసే ఫ్లైవీల్ ఓ ఎలక్ట్రిక్ మోటార్ సాయంతో నిమిషానికి 20,000 సార్లు తిరుగూ స్థిరత్వాన్ని అందించనుంది. మోటార్సైకిల్ని ఎలాంటి ఆధారం లేకుండా నిలువుగా ఉంచడంలో ఇది సహకరిస్తుంది. ఇలా చేయాలంటే ఈ ఫ్లైవీల్ చాలా బరువును కలిగి ఉండాలి.

తక్కువ వేగాల వద్ద ఇంత బరువైన మోటార్సైకిళ్లను సరిగ్గా బ్యాలెన్స్ చేయటం కష్టమవుతుంది కాబట్టి, ఈ ఫ్లైవీల్ను గనుక ఇందులో అమర్చినట్లయితే, లోస్పీడ్ బ్యాలెన్సింగ్ చాలా సులభం అవుతుంది. పెండ్యులం మాదిరిగా తిరిగే ఈ స్పిన్నింగ్ వీల్ భ్రమణాలను బైక్లోని కంప్యూటర్ లెక్కించి, బైక్ బ్యాలెన్సింగ్కు ఫోర్స్ని జనరేట్ చేస్తుంది.

మోటార్సైకిల్ పక్కకు ఒరిగినప్పుడు అందులోని టిప్-ఓవర్ సెన్సార్ యాక్టివేట్ అయ్యి బైక్ పడిపోకుండా ఉండేందుకు సహకరిస్తుంది. హ్యార్లీ డేవిడ్సన్ వంటి ఖరీదైన బైక్లను తొలిసారిగా కొనుగోలు చేసే కొత్త రైడర్లు ఇలాంటి అధునాతన బ్యాలెన్సింగ్ సాంకేతిక ఎంతగానో ఉపయోగపడుతుంది.

హ్యార్లీ డేవిడ్సన్ ఫైల్ చేసిన ఈ పేటెంట్ చిత్రాలను చూస్తుంటే, ఈ ఫ్లైవీల్ సెల్ఫ్ బ్యాలెన్సింగ్ టెక్నాలజీని విడిగా కాకుండా నేరుగా ఇంజన్లోనే అమర్చనున్నట్లు తెలుస్తోంది. ఇంజన్ పైభాగంలో దీనిని అమర్చేలా ఉంది. ఇదంతా చూస్తుంటే భవిష్యత్తులో హ్యార్లీ డేవిడ్సన్ బ్రాండ్ నుంచి రానున్న మోటార్సైకిళ్లు ఈ సెల్ఫ్ బ్యాలెన్సింగ్ టెక్నాలజీతో వచ్చే అవకాశాలు కనిపిస్తున్నాయి.

హ్యార్లీ డేవిడ్సన్ సెల్ఫ్ బ్యాలెన్సింగ్ పేటెంట్పై డ్రైవ్స్పార్క్ అభిప్రాయం.
తొలిసారిగా హ్యార్లీ బైక్లు నడిపే వారు, వయస్సు మళ్లిన వారు లేదా సరైన లెగ్ స్ట్రెంత్ లేని వారి కోసం ఈ టెక్నాలజీ ఓ వరమనే చెప్పాలి. అత్యవసర సమయాల్లో రైడర్ పడిపోకుండా, దానంతట అదే బ్యాలెన్స్ చేసుకునే సదుపాయం నిజంగా మోటార్సైకిల్ టెక్నాలజీలో ఓ అద్భతం అనే చెప్పాలి.


Click it and Unblock the Notifications








